Main Content Main Menu

Ultrasonic Sensor IC

Description

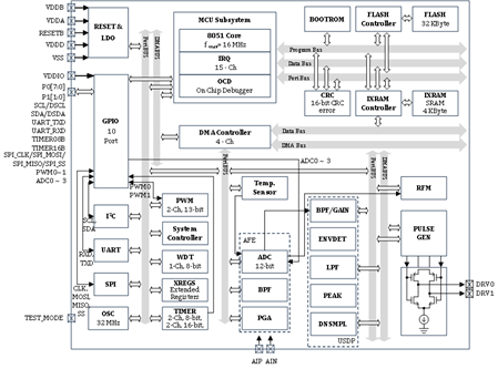
The GW7233 is a device that combines an integrated microcontroller and an analog front end to provide ultrasonic range detection using a minimal number of components. Its pulse-width modulation (PWM) outputs allow for programmable bursts to be sent to a single ultrasonic transducer. With the support of compatible transducers, this device allows for distance measurement and can be utilized for presence detection without any external components.
By utilizing internal components such as a programmable gain amplifier (PGA), a 12-bit analog-to-digital converter (ADC), digital filters, an envelope detector, and a peak detector, the desired measurement range and resolution can be achieved. Additionally, the device includes an internal temperature sensor and ADC for reading operating temperature information.
The device includes a 32 KB embedded Flash memory for storing application-specific programs and data, while a 4 KB SRAM is available for storing data required for signal processing purposes.
The GW7233 offers various communication interfaces, including UART, I2C, SPI and I/O communication making it convenient to connect with a host device.

Typical Applications

  • Ultrasonic Sensor Systems
  • Distance Measurement/Presence Detection
  • Robotics

Basic Application Diagram

Features

High Precision PWM Generator
Programmable Burst Generation
Period/Duty/Delay/Polarity Adjustable
Ultrasonic Transducer Driver
Direct Voltage Driver
Up to 300 kHz Frequency
Damping Resistance Control
Programmable Sinking Current
Analog Front End Integrated, Stand-alone Ultrasonic Sensor Solution
Analog Circuits for Ultrasonic Sensor Rx
Filters with Bandwidth Control
Programable Gain Amplifier
1.6 MSPS 12-bit SAR ADC
Digital Signal Processing
Digital Filtering
Signal Processing including Envelope Detection
Programmable Receiver Sensitivity
32MHz Internal Oscillator
8bit CPU with Various Peripherals
4 KB SRAM / 32 KB Flash Memory
WDT / TIMER
I2C / UART / SPI / GPIO
Fast Calibration Data and Program Update via Communication interface

Physical Characteristics

Operating Voltages
→5 V External Supply Voltage
→3.3 V ~ 5 V for I/O
→3.3 V for Analog Core, 1.5 V for Digital Core
Operating Temperature: -40°C to 105°C

Block Diagram

Datasheet and Guides

[GW7233]
Product Brief
File Download

Support

For more information about the product, technology, latest version of the document, or your nearest sales office, Please email us

Sample and Buy

Cascode Technologies

B1503, 128, Beobwon-ro, Songpa-gu, Seoul, 05854, Korea

+82-2-527-8933 henry.kim@cascodetech.com

Touchworld

Hyundai Knowledge Industry Center A-322ho, 3, Godeung-ro, Sujeong-gu, Seongnam-si, Gyeonggi-do, 13105, Korea

+82-10-2816-4349 martin.choi@touchworld.co.kr

Farben

Block B, WeiDa Technology Park, No.15, Gaoxin North 6th road, Songpingshan Community, Xili Street, Nanshan District, Shenzhen, China

www.farben.com.cn kelly.xie@farbenelec.com

DAEJIN SEMICONDUCTOR

Rm 1209, 278, Beotkkot-ro, Geumcheon-gu, Seoul

+82 10 6285 8842 jho@semidj.com

Ichicom Smart Technology Limited

Rm 701, Tower B, New Century Business Center, Shixia Beier Street West, Futian District Shenzhen, China

+86-132 6563 1806 edward@ichismart.com